九游体育「中国」官方网站 登录入口 IOS/安卓通用版/手机app下载

你的位置:九游体育「中国」官方网站 登录入口 IOS/安卓通用版/手机app下载 > 资讯 >
九游体育娱乐网举报 第一财经告白相助-九游体育「中国」官方网站 登录入口 IOS/安卓通用版/手机app下载
发布日期:2025-10-20 09:00    点击次数:186

新城市公告,为栽培召募资金使用恶果,公司拟将“机灵城市感知系统筹备中心样子”剩余召募资金1.57亿元用于参加“建筑绿能及零碳园区谋划设置样子”。

举报 第一财经告白相助,请点击这里此实践为第一财经原创,著述权归第一财经通盘。未经第一财经籍面授权,不得以任何模式加以使用,包括转载、摘编、复制或建立镜像。第一财经保留细腻侵权者法律牵涉的权益。如需获取授权请联系第一财经版权部:banquan@yicai.com 联系阅读 主力本日尾盘商业这些个股

主力本日尾盘商业这些个股

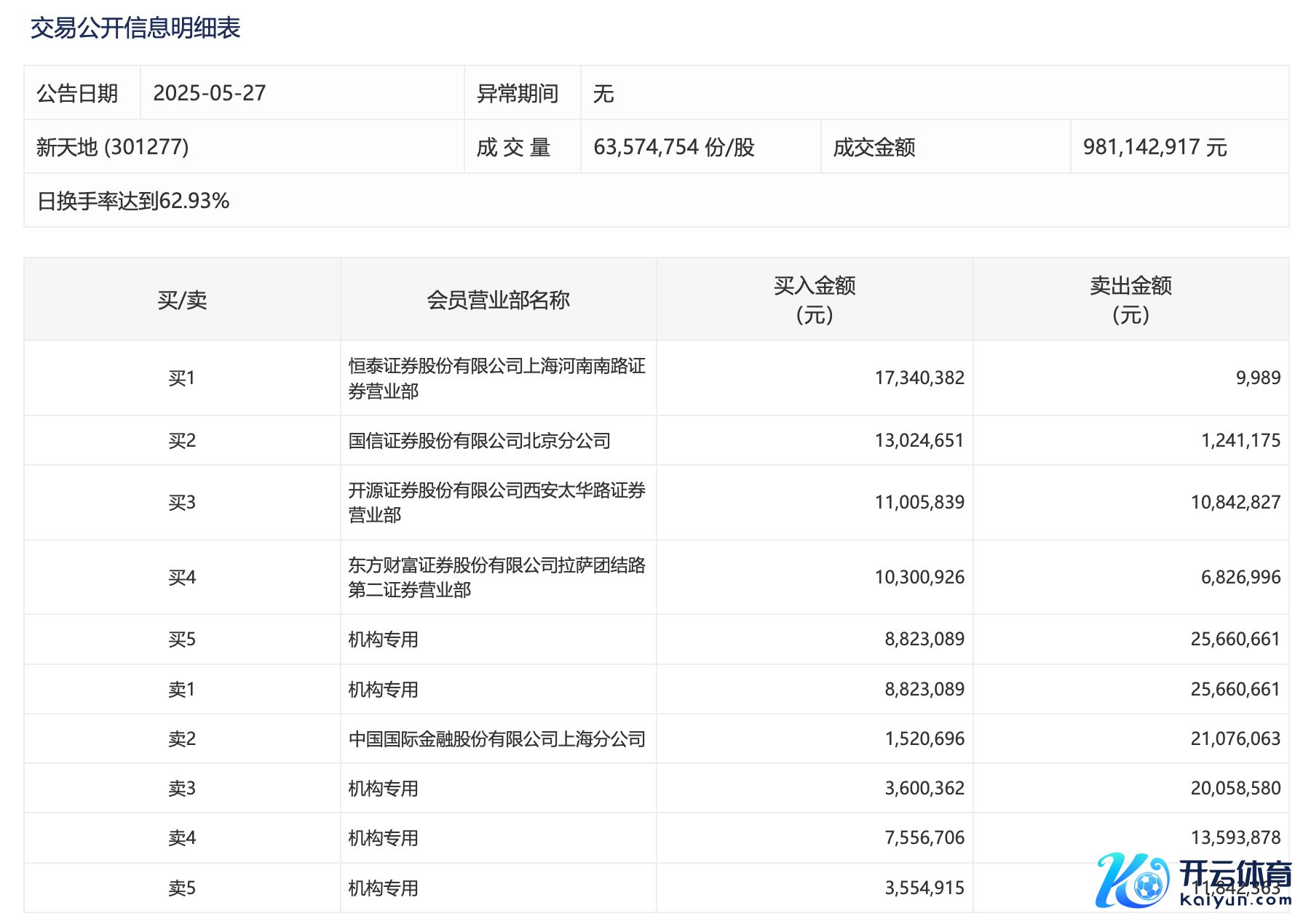
0 05-29 16:04 新寰宇本日涨14.12% 四机构专用席位净卖出4762.04万元

新寰宇本日涨14.12% 四机构专用席位净卖出4762.04万元

0 05-27 16:27 龙虎榜丨机构本日抛售这16股,买入一心堂1.02亿元

龙虎榜丨机构本日抛售这16股,买入一心堂1.02亿元

24 05-23 17:35 下周矜恤丨寰宇挪动通讯大会召开在即九游体育娱乐网,这些投资契机最靠谱

下周矜恤丨寰宇挪动通讯大会召开在即,这些投资契机最靠谱

23 03-02 09:11 一财最热 点击关闭